Register to unlock your exclusive B2B prices and start shopping. Sign up now!
SIRIUS® 64002 image 1
SIRIUS® 64002 image 2
SIRIUS® 64002 thumbnail 1
SIRIUS® 64002 thumbnail 2

SIRIUS® 64002

Order only Discontinued
Price (excl. VAT):
13,98 €
This price is valid until 31.03.26
Split box: 10,00 €
EAN: 4050300246505
MPN: 4050300246505
Package: 1
Box: 10
Estimate delivery time to our warehouse (approx.): 4-6 weeks

Technical Information

Item condition New
Manufacture name SIRIUS® 64002
Brand OSRAM
Categories Traffic signalling lamps
K23d Light Bulbs
Country of origin* DE
* The actual country of origin may differ depending on the delivery batch. To confirm the specific country of origin, please contact your account manager.
Harmonized System Code 8539 2198 00
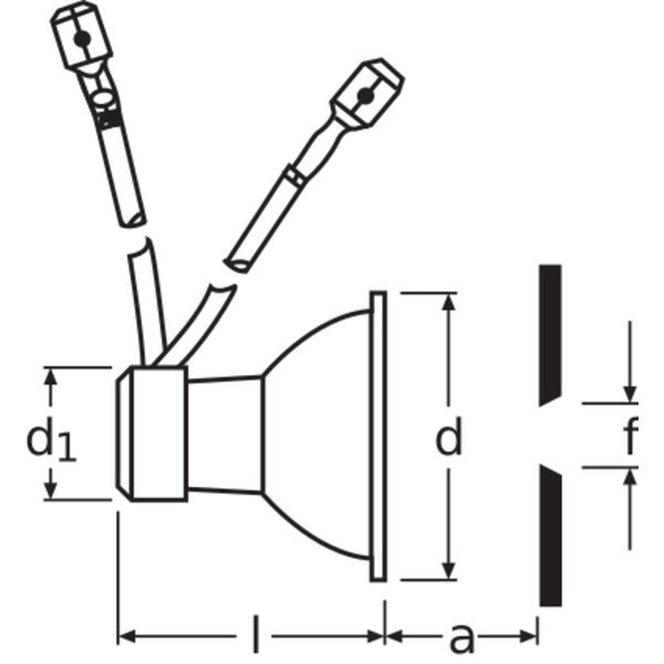
Socket K23d
With reflector Yes
Lamp voltage 12 V
Lamp power 20 W

Packing details

Packing level 1 4050300246505
Packing level 2 4050300246512
Packing level 3 4050300246505

Other Technical data

Model Clear
Suitable for traffic lights Yes
Suitable for variable road signs Yes
Suitable for rail traffic No
Halogen Yes
Number of filaments 1
Suitable for matrix information boards No

Downloads

Description

Low-voltage halogen lamps with dichroic reflector, road traffic. Product features: Connecting cables equipped with contacts/insulation widely resistant to corrosion and heat. Product benefits: Fixed adjustment of halogen tube to reflector provides high luminous intensity. Nearly constant luminous intensity due to high quality reflector coating. Very long life due to the halogen tube. Areas of application: Road and rail traffic signals.